Vistas:0 Autor:Editor del sitio Hora de publicación: 2022-07-21 Origen:Sitio
El pan rallado es un aditivo alimentario muy utilizado para superficies de frituras, tales como: pollo frito, pescado, mariscos (camarones), muslos de pollo, alitas de pollo, aros de cebolla, etc. Su sabor es crujiente y suave, delicioso y nutritivo.
La línea de producción de migas de pan Jinan Arrow Machinery Co., Ltd. está diseñada con base en tecnología de extrusión avanzada, y su calidad y operación han alcanzado el más alto nivel nacional.La línea de producción ha cambiado el proceso tradicional de producción de pan rallado.El proceso de producción está totalmente automatizado para la mezcla, extrusión, corte, trituración y secado.
Línea de producción:
Mezclador de polvo-Transportador de tornillo-Extrusora de doble tornillo-Máquina cortadora de tracción-Elevador-Pulverizador-Alimentador de succión-Lecho fluidizado vibratorio-Transportador de enfriamiento-Criba vibratoria
Mezclador de polvo - Transportador de tornillo - Extrusora de doble tornillo - Enfriador vibratorio - Alimentador de succión - Criba vibratoria circular - Alimentador de succión - Criba vibratoria
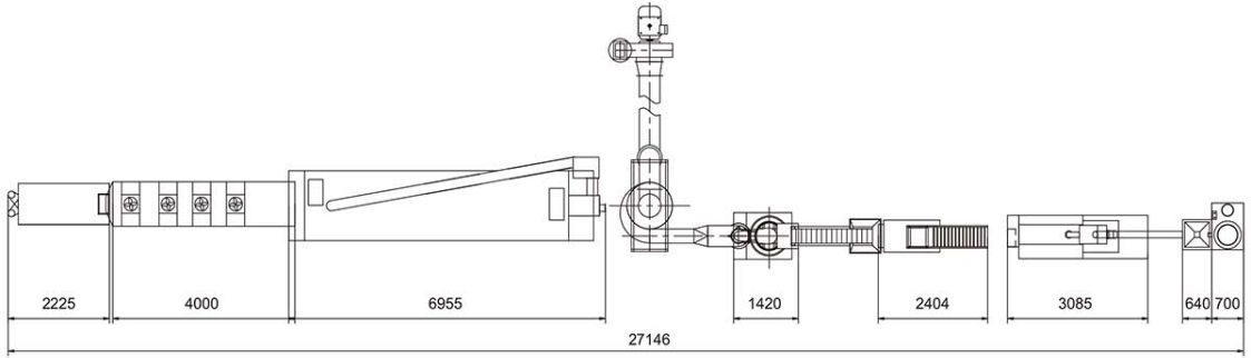
Plano de planta de la línea de producción de migas de pan:

Parámetros detallados sobre la línea de producción de migas de pan

Las ventajas de la línea de producción de migas de pan de nuestra empresa son:
1. El diseño de toda la máquina es compacto y razonable.
2. Se puede seleccionar el modo de calefacción, electricidad, gas, fuel oil para satisfacer las necesidades de diferentes clientes
3. Adopte la transmisión de cadena de rodillos de doble paso, secado alternativo, operación suave, sin fenómeno de atasco
4. Equipado con un sistema de combustión de ahorro de energía de alta eficiencia, distribución razonable de la fuente de calor, calentamiento uniforme de los materiales, bajo consumo de energía y gran rendimiento.